產品型號:RS-NJD-*-1
產品概述
我司自主研發的大氣能見度測量儀能適應各種惡劣天氣狀況,一體化的設計使內部電纜的布局更趨合理。采用了光學部件鏡頭朝下并帶有防護罩,有效防止降水、飛沫或塵埃進入鏡頭,減少探頭表面的污染。這種設計提供了精確的測量結果并減少了維護的需要。能見度儀的過電壓和電磁保護裝置能保證傳感器的長時間安全運行。廣泛應用于道路氣象信息系統、霧探測網絡、機場氣象系統、冷卻塔煙霧探測、氣象監測、港口安全。
功能特點
35°向前散射原理,測量更準確。
結構簡單、穩定性好、可靠性高、能耗低、使用維護方便。
紅外LED光源,增加濾光設計、抗光源干擾。
設備表面進行防腐處理,抗雨水腐蝕。
功耗低,內部電路抗干擾設計。
可對大氣能見度進行連續測量輸出。
儀器的直流供電電路具有防反接和自恢復保險雙重設計。
主要技術參數
供電 | 10~30V |
測量范圍 | 默認5-10000m 可選5-50000m或5-80000m |
典型精度 | ±10% (@25℃,50%RH) |
分辨率 | 1m |
更新間隔 | 20s |
平均無故障時間(MTBF) | 大于18000h |
變送器元件耐溫 | -40~80℃ |
工作相對濕度 | 不大于95%(30℃) |
重量 | 小于10kg |
功耗 | 1.5W |
輸出方式 | RS485、4G、ETH、WIFI |
以上陳述的性能數據是在使用我司測試系統及軟件的測試條件下獲取的。為了持續改進產品,我司保留更改設計功能和規格的權利,恕不另行通知。
產品選型
| RS- | 公司代號 | ||||
| NJD- | 大氣能見度測量儀 | ||||
| N01- | RS485(ModBus-RTU 協議) | ||||
| 4G- | 4G方式上傳 | ||||
| WIFI- | WIFI方式上傳 | ||||
| ETH- | 以太網方式上傳 | ||||
| 1- | 殼體外觀 | ||||
| 10 | 量程 10km | ||||
| 50 | 量程 50km | ||||
| 80 | 量程 80km | ||||
系統框架圖
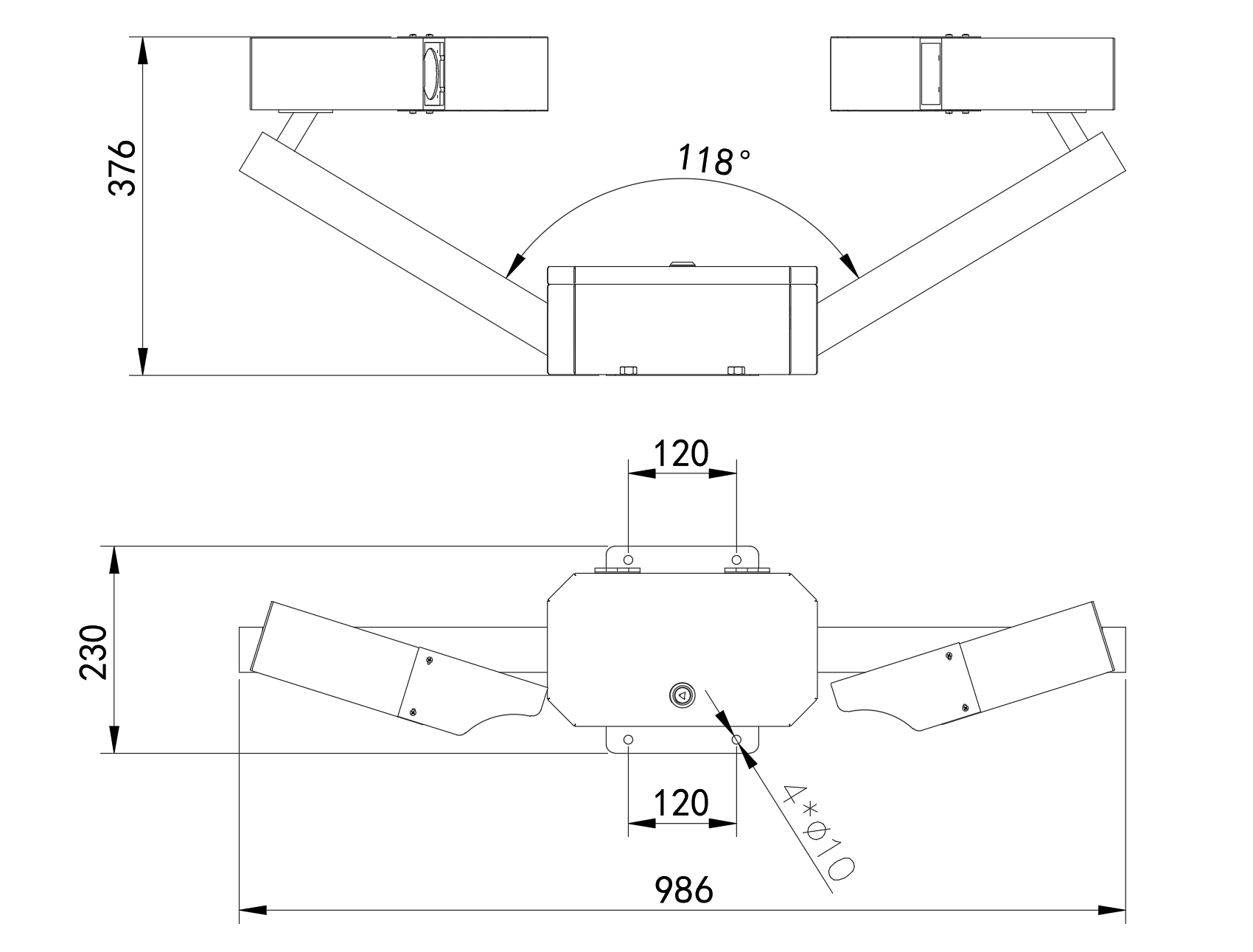
尺寸說明

單位:mm
安裝說明
(1)將儀器從包裝箱內取出,對照使用說明書的裝箱單仔細清點、檢查設備附件是否齊全。
(2)選擇合適地點安裝設備,設備提供安裝抱箍,利用抱箍將設備安裝到75mm立桿上,注意設備的安裝方向。

注意:將能見度傳感器安裝到距離地面大約2m的地方。保證能見度下方不要有別的物體,干擾測試。理想安裝場地應距大型建筑物或其它會產生熱量及妨礙降雨的設施至少100m,而且也要避免樹蔭的影響。場地應無干擾光學測量的障礙物、反射面和明顯的污染源。
接口說明
寬電壓電源輸入10~30V均可。485信號線接線時注意A\B兩條線不能接反,可參考下表說明,總線上多臺設備間地址不能沖突。
線色 | 說明 |
棕色 | 電源正 |
黑色 | 電源負 |
黃色 | 485-A |
藍色 | 485-B |