產品型號:RS-FSA-*
聚碳風向傳感器
聚碳風速傳感器
超聲波風速風向變送器
管道風速變送器
鋁殼風向變送器
鋁殼風速變送器
小型超聲波風速風向變送器
人防風量測量儀(市電供電)
管道式風速風溫變送器
人防風量測量儀(直流供電)
三維超聲波風速風向變送器
產品概述
RS-FSA-* 風速變送器,外形小巧輕便,便于攜帶和組裝,三杯設計理念可以有效 獲得風速信息,殼體采用優質鋁合金型材,外部進行噴塑處理,具有良好的防腐、防侵蝕等特點,能夠保證變送器長期使用無銹琢現象,同時配合內部順滑的軸承系統,確保了信息采集的精確性。被廣泛應用于溫室、環境保護、氣象站、船舶、碼頭、養殖等環境的風速 測量。
功能特點
量程:0-60m/s,分辨率 0.1m/s。
防電磁干擾處理。
采用底部出線方式、完全杜航空插頭橡膠墊老化問題,長期使用仍然防水。
采用高性能進口軸承,轉動阻力小,測量精確。
全鋁外殼,機械強度大,硬度高,耐腐蝕、不生銹可長期使用于室外。
設備結構及重量經過精心設計及分配,轉動慣量小,響應靈敏 。
主要技術參數
485型:
| 直流供電(默認) | 5~30V DC |
| 最大功耗 | 0.2W(12V供電) |
| 變送器電路工作溫度 | -40℃~+60℃,0%RH~80%RH |
| 通信接口 | 485通訊(ModBus)協議 數據位長度:8位 奇偶校驗方式:無 停止位長度:1位 默認ModBus通信地址:1 波特率:2400、4800(默認)、9600、19200、38400、57600、115200 |
| 參數設置 | 用提供的配置軟件通過485接口進行配置 |
| 分辨率 | 0.1m/s |
| 測量范圍 | 0~60m/s |
| 動態響應時間 | ≤2s |
| 精度 | ±(0.2+0.03V)m/s,@(0~30m/s,25℃) V表示風速 |
模擬量型:
| 直流供電(默認) | 10~30V DC | |
| 最大功耗 | 電流輸出 | 0.7W |
| 電壓輸出 | 0.7W | |
| 分辨率 | 0.1m/s | |
| 變送器電路工作溫度 | -40℃~+60℃,0%RH~80%RH | |
| 測量范圍 | 0~60m/s(默認0-30m/s) | |
| 動態響應時間 | ≤2s | |
| 精度 | ±(0.2+0.03V)m/s,@(0~30m/s,25℃) V表示風速 | |
| 輸出信號 | 電流輸出 | 4~20mA |
| 電壓輸出 | 0~5V/0~10V | |
| 負載能力 | 電壓輸出 | 輸出電阻≤250Ω |
| 電流輸出 | ≤600Ω | |
脈沖型:
| 直流供電(默認) | 5~30V DC | |
| 變送器電路工作溫度 | -40~60℃,0%RH~95%RH,非結露 | |
| 通信接口 | 脈沖輸出 | |
| 分辨率 | 0.10625m/s 1m/s=16個脈沖 | |
| 測量范圍 | 0~60m/s | |
| 動態響應時間 | ≤0.5s | |
| 精度 | ±(0.2+0.03V)m/s,@(0~30m/s,25℃) V表示風速 | |
| 負載能力 | PNP | ≥100mA |
| NPN | ≥100mA | |
產品選型
| RS- | 公司代號 | ||
| FSA- | 鋁殼風速 | ||
| I20 | 4-20mA電流輸出 | ||
| V05 | 0-5V電壓輸出 | ||
| V10 | 0-10V電壓輸出 | ||
| N01 | RS485(ModBus協議)輸出 | ||
| NPN | NPN輸出 | ||
| PNP | PNP輸出 | ||
| NPNR | NPNR型帶上拉電阻輸出 | ||
| 4G | 4G方式上傳(分體) | ||
系統框架圖
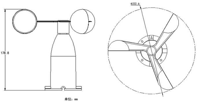
尺寸說明

安裝說明
采用法蘭安裝,螺紋法蘭連接使風速傳感器下部管件牢牢固定在法蘭盤上,底盤 ?80mm,在?68mm的圓周上開四個均?4mm的安裝孔,使用螺栓將其緊緊固定在支架上, 使整套儀器,保持在最佳水平度,保證風速數據的準確性,法蘭連接使用方便,能夠承受較 大的壓力。
接口說明
寬電壓電源輸入 10~30V 均可。485 信號線接線時注意 A\B 兩條線不能接反,總線上多 臺設備間地址不能沖突。
